SSPQ-P系列双线分配器(40MPa)
一、概述
| SSPQ-P系列(原ZV-B系列)双线分配器适用于公称压力为40MPa的干油或稀油双线式集中润滑系统中,作为一种定量给油装置。通过二条供油管交替压送润滑脂,实现定量给各润滑点供送润滑剂的双线分配器。分配器有带给油螺钉、带运动指示调节装置和带行程调节装置三种型式。 1、带给油螺钉的分配器,给油量不能调节,只有选择不同给油指数的给油螺钉来改变给油量。 2、带运动指示调节装置的分配器,给油量可在零至额定给油量范围内调节,并能通过观察运动指示调节装置来判断分配器是否正常工作。 3、带行程开关调节装置的分配器,给油量可在零至额定给油量范围内调节,并能通过行程开关发送讯号来控制润滑点的供油状况,每块分配器仅可带一件限位开关调节装置。 | ![]() |
二、技术参数
| 型 号 | 公称压力MPa | 启动压力MPa | 控制活塞工作油量mL | 每出油口额定给油量mL/循环 | 给 油口 数 | 配 带 装 置 |
| ※SSPQ※-P0.5 | 40 | ≤1 | 0.3 | 0.5 | 1~8 | 给油螺钉,运动指示调节装置 |
| ※SSPQ※-P1.5 | 1.5 | 给油螺钉,运动指示调节装置,行程开关调节装置 | ||||
| ※SSPQ※-P3.0 | 3 | 1~4 | 运动指示调节装置 |
给油口数为单数时,其中有一给油口的给油量为额定给油量的2倍。
使用介质为锥入度不低于220(25℃,150g)1/10mm的润滑脂(NLGI0#~3#)或粘度等级大于N68的润滑油,工作环境温度为-20℃~80℃。
三、型号说明
![]() |
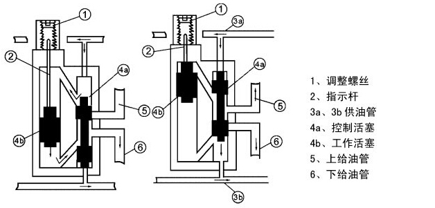
四、工作原理
![]() |
| 双线分配器与每两个润滑点相连通的活塞孔中分别有一个控制活塞和一个工作活塞,两个进油口分别与两条供油管3a、3b连接,当供油管一条加压力时,另一条则卸荷。 如上图所示,由泵输送来的润滑脂,经供油管3a进入分配器控制活塞的上端,控制活塞首先向下移动(这时控制活塞下端挤压的润滑脂则进入卸荷的供油管3b),使工作活塞的上腔与控制活塞的上腔连通,然后工作活塞向下移动,这时受工作活塞的挤压的润滑脂经过控制活塞的环形槽被压送到出油口6至润滑点,完成第一周期的给油动作。切换至供油管3b供油开始第二周期的给油动作,分配器活塞按相同的顺序反向进行前述动作,出油口5排送润滑脂。 |
五、外形尺寸
六、使用说明
| 1、在灰尘大、潮湿、环境恶劣的场合使用,应配防护罩。 2、双线分配器在系统中优先采用并联安装法,供油管与分配器在左边或右边联接均可;其次采用串联安装法,须把一侧进油口上起封闭管道的二个G3/8螺塞卸掉,最多串接数不允许超过二个;必要时可并串组合安装。 3、带给油螺钉的分配器(SSPQ1),给油量不能调节,只有选择不同给油指数的给油螺钉来改变给油量。 4、带运动指示调节装置的分配器(SSPQ2型),其给油量的调整,应在指示杆缩回去的状态下旋转限位器的调节螺钉,根据润滑点的实际需要在最大和最小给油量范围内进行调整。 5、带行程开关调节装置的分配器(SSPQ3),其给油量的调整,也应在指示杆缩回去的状态下进行,根据需要调整。 6、给油口数变为奇数时,将相对应出油口间的螺钉拿掉,并把不用的那个出油口用G1/4螺塞封堵,上下出油口连通,活塞正反向动作均从此出油口供油。 7、为便于拆卸,从分配器到润滑点的管道最好弯成90°或者使用卡套式接头。 8、与分配器安装的面应光滑平整,安装螺栓不宜拧得过紧,以免使用时变形影响正常动作。 9、SSPQ1和SSPQ2型分配器建议选用GB70-85螺钉M6×50安装固定,SSPQ3型分配器安装面间需配30mm的垫板选用GB70-85特制螺钉M6×85安装固定。 |
七、常见故障及排除
| 1、分配器不动作。 检查供油管有否压力油输送;润滑点是否阻塞,给油管是否被压扁;分配器内是否进入杂质致使活塞孔拉毛等,查明排除后即可。 2、运动指示调节装置指示杆处漏油。 拆下限位器体更换油封,可能是油封库存或使用时间过长老化或超过规定的使用环境温度,查明后更换。 |
八、订货须知
| 1、带有给油螺钉的分配器(SSPQ1型),须按每对出油口的顺序注明给油指数,不注明按给油指数1供货。 2、带有行程开关调节装置的分配器(SSPQ3型),每块只带一件限位开关调节装置,如有特殊需要,每对出油口都可配带,须注明配带数量,单独订货。 3、对出油口数为奇数的分配器,须按每对出油口的顺序注明那个不用的出油口位置,不注明均按右位上出油口堵供货。 4、分配器安装使用环境温度>80℃的必须在订货合同中注明,以便供货时提供耐高温油封。 |
















